您所在的位置:


YZ液下渣浆泵
YZ液下渣浆泵概述
YZ型液下渣浆泵是立式单级单吸悬臂式离心泵结构,叶轮为半开式叶轮,在叶轮吸入边延伸处设有搅拌叶片。主要用于环保、市政工程、火力发电厂、煤气焦化厂、炼油厂、炼钢厂、采矿、造纸业、水泥厂、食品厂、印染等行业抽吸浓液、稠油、油渣、污浊液、泥浆、灰浆、流砂及城市排污沟道的流动污泥,以及含有泥砂渣物的流体和有腐蚀性液体。

YZ液下渣浆泵产品图
YZ液下渣浆泵型号意义
例:80YZ80-20A
80-泵的出口直径(mm)
YZ-液下式渣浆泵
80-泵的设计点流量
20-泵的设计扬程
A-表示叶轮经第一次切割
YZ液下渣浆泵结构说明
YZ型泵为单级,单吸悬臂式结构,用轴承座,支承座,联接管连接泵的水力部件,液体由出液管部件排出,泵的叶轮为半开式叶,在叶轮叶片进口延伸处设有搅拌叶片,该泵主要特点是在液下部位的泵轴,有足够的刚度,叶轮,泵壳之间不设轴承,不采用轴封,可以输送含有较大浓度固定颗粒的介质。泵插入液下的长度在800-2000之间,如果需要可以配带吸入管。轴封采用较大泵插入液体中运行,不设轴封,传动由立式电动机安装在电机支承和支承座上,用联轴器与泵相连。泵的传动方式:泵通过弹性联轴器与电动机连接,从原动机方向看泵为顺时针方向旋转。
YZ液下渣浆泵结构图及零部件名称

零花件名称:电机联轴器、电机座、泵联轴器、加油孔、轴承压盖、轴承、轴承座、轴、支架筒、轴承压盖、轴承、保护体、机械密封、密封压盖、连接座、出水弯头、护板、泵体、叶轮、下滤网
YZ液下渣浆泵型号及技术参数
| 型号 | 流量 | 扬程 | 转速 | 效率 | 配用电机 | ||
| m3/h | L/S | 型号 | 功率 | ||||
| 50YZ20-18 | 12 | 3.3 | 20.5 | 1430 | 40 | Y112M-4 | 4 |
| 20 | 5.6 | 18 | 45 | ||||
| 24 | 6.7 | 16.5 | 42 | ||||
| 8 | 2.2 | 8.3 | 940 | 40 | Y100L-6 | 1.5 | |
| 13 | 3.6 | 7.3 | 45 | ||||
| 15 | 4.2 | 6.7 | 42 | ||||
| 50YZ20-18A | 10.2 | 2.8 | 14.8 | 1430 | 39 | Y100L2-4 | 3 |
| 17 | 4.7 | 13 | 44 | ||||
| 20.4 | 5.7 | 11.9 | 41 | ||||
| 6.8 | 1.9 | 6 | 910 | 39 | Y90L-6 | 1.1 | |
| 11.1 | 3.1 | 5.3 | 44 | ||||
| 12.8 | 3.5 | 4.8 | 41 | ||||
| 80YZ50-20 | 30 | 8.3 | 23 | 1440 | 43 | Y132M-4 | 7.5 |
| 50 | 13.8 | 20 | 50 | ||||
| 60 | 16.7 | 17.5 | 46 | ||||
| 20 | 5.6 | 10 | 960 | 28 | Y132S-6 | 3 | |
| 33 | 9.2 | 8.7 | 34 | ||||
| 40 | 11.1 | 7.6 | 36 | ||||
| 80YZ50-20A | 27 | 7.5 | 21 | 1440 | 42 | Y132M-4 | 7.5 |
| 45 | 12.5 | 18 | 49 | ||||
| 54 | 15 | 15 | 45 | ||||
| 17.6 | 4.9 | 9 | 940 | 27 | Y112M-6 | 2.2 | |
| 29 | 8 | 7.7 | 33 | ||||
| 35 | 9.8 | 6.4 | 35 | ||||
| 80YZ50-20B | 24 | 6.7 | 17.5 | 1440 | 40.5 | Y132S-4 | 5.5 |
| 40 | 11.1 | 16 | 48 | ||||
| 48 | 13.3 | 14 | 43 | ||||
| 16 | 4.4 | 7.6 | 940 | 26 | Y100L-6 | 1.5 | |
| 26 | 7.2 | 7 | 33 | ||||
| 32 | 8.8 | 6 | 34 | ||||
| 80YZ50-50 | 30 | 8.3 | 60 | 1470 | 42 | Y180L-4 | 22 |
| 50 | 13.8 | 55 | 50 | ||||
| 60 | 16.6 | 53 | 46 | ||||
| 19 | 5.3 | 25.6 | 970 | 40 | Y160M-6 | 7.5 | |
| 32 | 8.9 | 23.4 | 49 | ||||
| 39 | 10.8 | 22.6 | 45 | ||||
| 80YZ50-50A | 28 | 7.8 | 54 | 1470 | 40 | Y180M-4 | 18.5 |
| 48 | 13.3 | 49 | 49 | ||||
| 58 | 16.1 | 47.5 | 45 | ||||
| 18 | 5 | 15 | 960 | 38 | Y132M1-6 | 4 | |
| 31 | 8.6 | 13.6 | 48 | ||||
| 38 | 10.5 | 13.2 | 44 | ||||
YZ液下渣浆泵型号及技术参数2
| 型号 | 流量 | 扬程 | 转速 | 效率 | 配用电机 | ||
| m3/h | L/S | 型号 | 功率 | ||||
| 80YZ50-50B | 25 | 6.94 | 42.5 | 1460 | 38 | Y160L-4 | 15 |
| 42 | 11.7 | 39 | 48 | ||||
| 50 | 13.8 | 37.5 | 44 | ||||
| 16 | 4.4 | 18.3 | 960 | 36 | Y132S-6 | 3 | |
| 27.6 | 7.7 | 16.8 | 47 | ||||
| 32 | 8.9 | 16 | 43 | ||||
| 80YZ80-20 | 48 | 13.3 | 22 | 1460 | 45 | Y160M-4 | 11 |
| 80 | 22.2 | 21 | 55 | ||||
| 96 | 26.7 | 18.5 | 53 | ||||
| 31 | 8.6 | 9.5 | 960 | 45 | Y132M1-6 | 4 | |
| 52 | 14.4 | 9 | 55 | ||||
| 63 | 17.5 | 8 | 53 | ||||
| 80YZ80-20A | 44 | 12.2 | 18.6 | 1460 | 43 | Y160M-4 | 11 |
| 73 | 20.3 | 17.5 | 53 | ||||
| 90 | 25 | 15.6 | 51 | ||||
| 28 | 7.8 | 8 | 960 | 43 | Y132M-4 | 4 | |
| 48 | 13.3 | 7.5 | 53 | ||||
| 59 | 16.4 | 6.5 | 51 | ||||
| 80YZ80-20B | 39 | 10.8 | 16 | 1460 | 43 | Y132M-4 | 7.5 |
| 68 | 18.9 | 15 | 53 | ||||
| 80 | 22.2 | 13.4 | 51 | ||||
| 25 | 6.9 | 6.9 | 960 | 43 | Y132S-6 | 3 | |
| 44 | 12.2 | 6.5 | 53 | ||||
| 52 | 14.4 | 5.8 | 51 | ||||
| 100YZ100-30 | 60 | 16.7 | 36 | 1470 | 41 | Y180L-4 | 22 |
| 100 | 27.8 | 31 | 54 | ||||
| 120 | 33.3 | 28 | 56 | ||||
| 39 | 10.8 | 15.5 | 970 | 41 | Y160M-6 | 7.5 | |
| 65 | 18.1 | 13.5 | 54 | ||||
| 79 | 21.9 | 12 | 56 | ||||
| 100YZ100-30A | 75 | 20.8 | 30 | 1470 | 39 | Y180M-4 | 18.5 |
| 92 | 25.6 | 26 | 52.5 | ||||
| 110 | 30.6 | 24 | 54 | ||||
| 48 | 13.3 | 12.8 | 960 | 39 | Y132M2-6 | 5.5 | |
| 60 | 16.7 | 11 | 52.5 | ||||
| 71 | 19.7 | 10 | 54 | ||||
| 100YZ100-30B | 50 | 13.9 | 25 | 1460 | 38 | Y160L-4 | 15 |
| 85 | 23.6 | 22 | 52 | ||||
| 102 | 28.3 | 20 | 53 | ||||
| 32 | 8.9 | 10.8 | 960 | 38 | Y132M2-6 | 5.5 | |
| 55 | 15.3 | 9 | 52 | ||||
| 67 | 18.6 | 8 | 53 | ||||
| 100YZ-120-60 | 72 | 20 | 61 | 1480 | 38 | Y250M-4 | 55 |
| 120 | 33 | 60 | 50.5 | ||||
| 144 | 40 | 56 | 52 | ||||
| 47 | 13.1 | 26 | 970 | 38 | Y200L1-6 | 18.5 | |
| 78 | 21.7 | 25 | 50.5 | ||||
| 94 | 26.1 | 24 | 52 | ||||
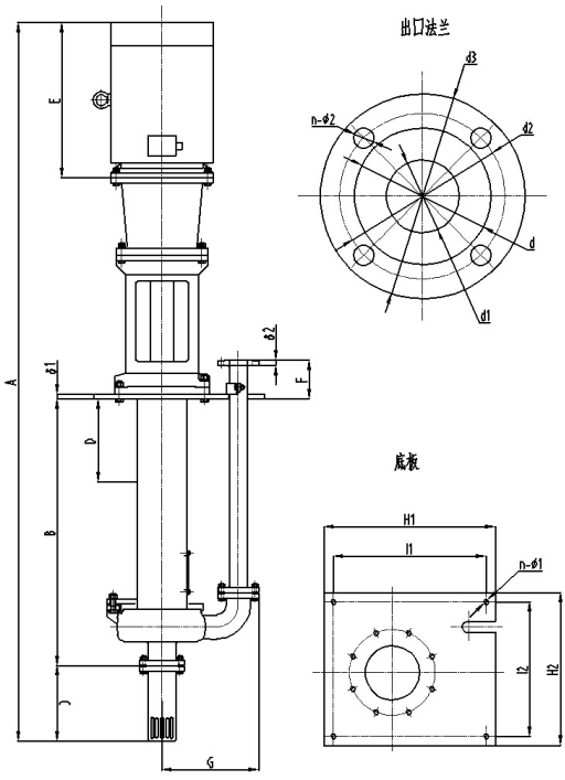
YZ液下渣浆泵外形尺寸图

注:如需详细安装尺寸请直接联系我公司销售人员免费获取,谢谢!
YZ液下渣浆泵固定安装示意图

YZ液下渣浆泵装配与拆卸
装配顺序
(1)将轴承分别装在轴承盒和轴承座上。
(2)将毛毡圈装在轴承端盖甲、丙和轴承盒上。
(3)将轴承端盖乙、丙装在轴承座上并用螺栓紧固。
(4)将装好轴承的轴承穿在同上,拧上圆螺母,并将轴承端盖甲紧固在轴承盒上。
(5)将轴装入轴承座,用螺栓固定,拧上调整螺钉,并将轴承安装在支承座上,将挡水圈套在下部轴
承处的适当位置。
(6)将联接管固定在轴承座上,并在联接管下部装上泵盖,在轴下部装上叶轮并拧紧,依次装上泵体
前盖,并螺栓固定,用轴承盒处的调整螺钉调整叶轮与前盖间的间隙,(控制在1--1.5mm内)调
好后用螺母,螺栓紧固。
(7)电机支承安装在轴承座上用螺栓紧固,在轴的上端装联轴器部件,并将电机联轴器用紧固螺钉紧
固在电机轴头上,将电机装在电机支承上,并用螺栓,螺母紧固。
(8)从泵的出品顺序将石棉垫,出液弯头、出液管件装上,并固定在支承座上。
安装
1、安装前的装备工作
a、检查水泵和电机有无损坏
b、准备工具及起重设备
c、按图检查基础。
2、将泵的支承座安装在容器上,用螺栓拧紧(如系水泥井罐需预先设置地脚螺栓)。
YZ液下渣浆泵起动与停止
1、观察泵的安装基础是否已经稳固,所有各部件螺栓是否拧紧。
2、检查泵轴向间隙是否已经调整好(扳动联轴器无摩擦声即可)
3、油标注入钙基黄油
4、检查电机旋转方向是否正确
5、起动电机,打开压力表旋塞,当泵以全转数工作时,调节闸阀开度到需要范围。
6、泵停止工作时,应先停止电动机,然后闭上压力表旋塞。
7、泵长期停止运行时,应将泵拆开,擦拭干净,涂上防锈油妥善保存。
运转
1、注意泵轴承温度,不应超过外界温度35度但最高不应大于75度。
2、油杯内应注满钙基黄油,保证轴承能正常润滑。
3、泵在工作第一个月内,或运转100小时后,应更换电机支承油杯内的黄油,以后每工作2000小时
后更换一次。
4、定期检查弹性联轴器,注意电机轴承温升。
5、动转过程中,如发现噪声或不寻常的声音时,应立即停车检查。
6、泵每工作2000小时应进行周期检查,叶轮、泵体(或泵盖)之间间隙的摩损不能过大,间隙的最
大值不得超过1.5毫米,如超过可更换叶轮或前盖。
YZ液下渣浆泵可能发生的故障及其解决方法
| 故 障 | 原 因 | 解 决 方 法 |
| 水泵不出水,压力表指针剧烈跳动 | 进水口被淤塞、管路与仪表漏气 | 排出淤塞物、拧紧或堵塞漏气处 |
| 水泵不出水 | 泵进水口高于液面、旋转方向不对 | 增高液面或下降泵的安装高度、检查电机转向 |
| 压力表指示泵出水处有压力、泵仍不出水 | 出水管阻太大、叶轮淤塞、转数不足 | 检查管路、清洗叶轮、增加泵的转数 |
| 流量过低 | 水泵淤塞、转数不足、叶轮磨损过大 | 清洗泵及管路、增加转数、更换叶轮 |
| 泵消耗功率过大 | 泵供水量过小(或全关闭)、叶轮磨损 | 出口管开启闸阀、更换叶轮 |
| 轴承过热 | 轴承缺油、轴承内部有污物或损坏 | 增添润滑脂、清洗轴承或更换轴承 |